大型工件的精确定位对于制造和加工行业至关重要。它确保了准确性,提高了产品质量,并减少了由于误差而造成的浪费。光学方法在其他方面非常准确,但却受到灰尘或光照变化等环境条件的影响。另一方面,机械方法耐用可靠,但在微观级别测量方面可能缺乏精度。此外,环境、工件材料和尺寸等因素都会影响测量方法的有效性。例如,一些传感器在高温或高湿条件下可能无法有效工作,或者无法测量某些类型的材料。电感位移传感器是一种坚固、耐磨且对振动不敏感的传感器。它体积小巧,适用于尘土和受污染的环境。这种传感器通过改变线圈系统的磁耦合来测量叶片的变化。
电感位移传感器是一种适用于精确定位的传感器。它由一个线圈系统和一个磁场发生器组成。当物体的位置或形状发生变化时,线圈系统中的磁耦合也会发生变化,从而导致传感器输出的电信号发生变化。这种传感器具有耐磨、抗振动的特点,适用于各种恶劣的环境条件,如尘土和受污染的环境。
电感位移传感器具有许多优点。首先,它们具有较高的精度和分辨率,可以实现微米级别的测量。其次,它们的耐用性和可靠性使其适用于长期使用。此外,由于电感位移传感器不需要机械接触,因此几乎没有磨损,可以实现长时间的准确测量。
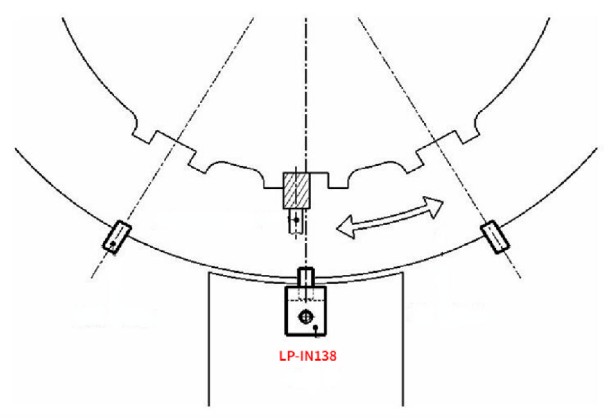
英国真尚有LP-IN138电感位移传感器包含两个被气隙分隔开的线圈系统,通过测量叶片改变线圈系统的磁性联轴器。它的标准测量范围为 20 毫米,间隙宽 2.5 毫米,测量叶片厚 1 毫米。LP-IN138电感位移传感器的测量叶片可以在测量方向的两侧从槽中引出,跨越测量方向的移动不会影响测量结果。一旦测量叶片被引导回到槽中,LP-IN138就准备好再次测量。除此以外,英国真尚有电感位移传感器的测量叶片和相关联的传感器是可相互替换的,因此可以用多个测量叶片和一个传感器组合,也可以用多个测量叶片和不同传感器组合,这一特性使传感器对于测量任务具有更大的灵活性。
譬如,在大尺寸工件进行铣床精密加工时,需要先将工件夹持到外径为2300mm的旋转工作台上。转盘通常使用角度编码器进行粗略调整,相对于圆周的精度为±2mm。而在随后的精细定位期间,利用LP-IN138电感位移传感器在圆周处进行测量,可以获得±0.05mm的精度。

使用英国真尚有LP-IN138电感位移传感器用于这类应用的优点是:根据各个加工步骤的要求,可以在转盘圆周上需要测量角度的任意位置添加测量叶片,而测量叶片将一个接一个地进入同一LP-IN138电感传感器的插槽中,最终不需要花费大量精力就可轻松实现在每个加工步骤中获得超高的角度精度。
针对特殊应用,市场上绝大多数品牌不支持定制或者无法小批量定制,有些即使能定制但费用高昂,而英国真尚有持续提供小批量、低成本定制传感器或方案,既满足了项目的特殊要求,又兼顾了低成本,直接促成了多个项目的成功。
英国真尚有LP-IN138等电感式位移传感器的众多优势使其成为大型工件精细定位的理想工具。
内径测量仪精密轮廓检测系统微观型面测量系统静态形变测量系统精密在线测厚系统振动测量系统无人警卫船光伏清洁机器人智能垃圾压实机智能机器人自稳定无人机起落平台空气质量检测仪桥梁结构健康检测系统其他检测系统
焊缝分析软件3D数据处理软件工业物联网平台电涡流软件预测分析软件AI软件计算机视觉平台数据平台解决方案服务免代码软件集成平台定制软件
测速测长_测距传感器 | 测距仪皮米级电容位移传感器线激光轮廓扫描仪 | 线扫激光传感器激光位移传感器线性位置传感器光谱共焦传感器Kaman传感器系统干涉仪测径仪 | 测微计 | 激光幕帘千分尺传感器纳米平台光栅传感器地下探测仪光纤传感器太赫兹传感器液位测量传感器倾角 | 加速度测量传感器3D扫描传感器视觉相机 | 3D相机水下测量仪磁耦合线性执行器磁场传感器雷达传感器石墨烯霍尔效应传感器卷材位置传感器振动测量传感器结构检测传感器监控电涡流传感器水听器校准器无线光学通讯传感器网关纳米级电涡流传感器其它检测设备